Aluminum Alloy Anti-aorrosion Blower
The fan impeller is manufactured from cast aluminium alloy. The low density of aluminium alloy (approximately one-third that of steel) significantly reduces impeller weight, thereby helping to lower system load, simplify installation and maintenance, and enhance dynamic response performance.
Overview
Features:
The fan can be made into two forms: counterclockwise rotation and clockwise rotation.
The casing is welded with thin steel plates, with good air-tightness and beautiful appearance
The air inlet is made into a whole and installed on the side of the fan. The outlet position is represented by the angle of the air outlet of the casing. The adjustment range of the air outlet position is from 0 degrees to 270 degrees, with an interval of 90 degrees. The impeller is made of aluminum alloy material riveted and has good anti-corrosion performance.
Advantages:
1.Good air tightness.
2.Good anti-corrosion.
3.Small starting torque.
4.Low noise and low vibration .
5.Small in size and light in weight .
6.Strongly performance of resisting vacillation, vibration and shocking.
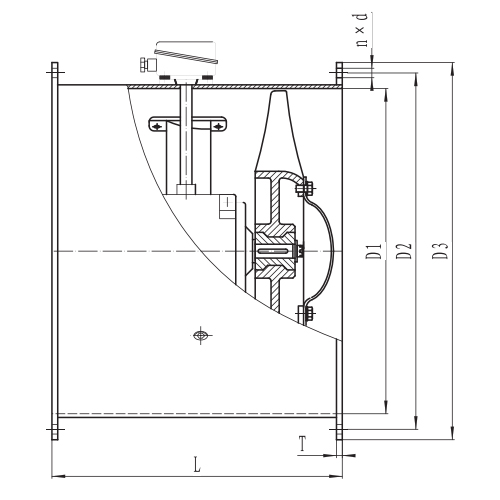
Drawing:

